Кингдао Руичен за заптивање технологија копродукции, Ltd.
Кингдао Руичен за заптивање технологија копродукции, Ltd.
Производи
X

TC масло заптивки

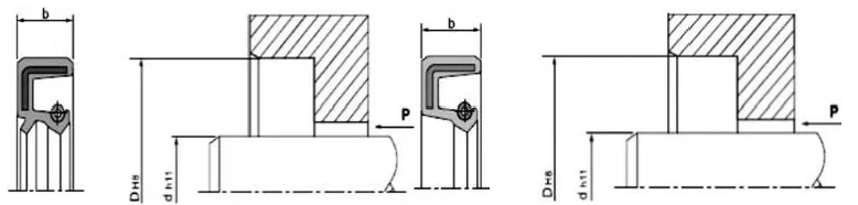
Заптивките за усни на ротирачкото вратило, попознати како заптивки за масло, се инсталирани во куќиштето на лежиштето и се движат во однос на ротирачкото вратило. Металниот скелет обезбедува поддршка, а пружината нанесува радијално претходно оптоварување на заптивната усна за да спречи истекување на лубрикантот и навлегувањето на надворешни загадувачи.

Структура и барања за инсталација

1. Материјал на вратило: Најчесто се користат јаглероден челик и нерѓосувачки челик. За големи брзини, хромирањето се нанесува на површината, HRC40-45.

2. Дизајн на ротирачко вратило и жлебови: Површината на вратилото треба да биде мазна и без бруси. Спиралните ознаки за обработка можат да создадат ефект на пумпање, што доведува до истекување. Се препорачува областа за монтирање на заптивката за масло да се меле до грубост на површината од Ra0,1-0,5µm, со што станува помазна со зголемување на брзината. За лесно монтирање и расклопување, вратилото и жлебовите мора да бидат дизајнирани со рабови или заоблени рабови Видете ги сликите 1 и 2.

Висина на заптивање

b

b1 (0,85xb)

мм

b2(b+0,3)

мм

r

макс.

7

5.95

7.3

0.5

8

6.80

8.3

0.5

10

8.50

10.3

0.5

12

10.30

12.3

0.7

15

12.75

15.3

0.7

20

17.00

20.3

0.7

Слика 1. Дизајн на браздата на жлебот


d

d3

R

<10

d-1,5

2

10-20

d-2,0

2

20-30

d-2,5

3

30-40

d-3,0

3

40-50

d-3,5

4

50-70

d-4,0

4

70~95

d-4,5

5

95-130

d-5,5

6

130-240

d-7,0

8

240~500

d-11,0

12

500-800

d-14,0

14

800-1250

d-18,0

16

Слика 2 Дизајн на гребенот на ротирачкото вратило


Фактори кои влијаат на перформансите на заптивките на усните на ротирачкото вратило 

Постојат десетици фактори кои влијаат на ефектот на запечатување. Покрај самата заптивка на маслото, како што се неговиот материјал и структура, други фактори како медиумот, температурата, притисокот, подмачкувањето, брзината и грубоста на површината исто така директно влијаат на ефектот на заптивање, а овие фактори често комуницираат едни со други. Следниве графикони се само за корисничка референца.

Слика 3. Ефект на температурата на заптивката на маслото


Монтирање: Внимателната инсталација е предуслов за правилно функционирање на заптивките за масло.

Дијаграм за инсталација (инсталација на празнина)

Правилен метод на инсталација

Применливи услови за работа

Неправилен метод на инсталација

Овој метод е применлив само кога крајната површина на заптивката за масло и крајната површина на шуплината се рамни. Кога опремата за пресување работи брзо, заптивката за масло мора да биде правилно поставена; во спротивно, може да дојде до неусогласеност.

 

Овој дизајн е погоден за ситуации кога крајната страна на заптивката за масло е пониска од крајната страна на шуплината. Дури и со брзо притискање, заптивката за масло може да биде добро поставена. Меѓутоа, на овој тип на тела му недостасува радијално позиционирање, затоа аксијалната перпендикуларност на рамната плоча на уредот за притискање и вратилото на притисокот мора да постигнат одредена прецизност.

Овој метод е погоден за ситуации кога крајната површина на заптивката за масло е пониска од крајната површина на шуплината. При брзо притискање на опремата, од клучно значење е да се осигурате дека заптивката за масло е правилно поставена; во спротивно, може да дојде до неусогласеност.


 

 


Овој метод е погоден само за одржување или за едноставни услови за инсталација каде што опремата под притисок не е достапна. Бидејќи при монтажата не може да се постигне апсолутно подеднакво притискање, неизбежни се различни проблеми со инсталацијата. Тој е првенствено дизајниран да спречи радијално неусогласеност при монтажата, што може да го деформира заптивката на маслото, или да спречи оштетување на гумата на делот за спојување на заптивката за масло (надворешниот круг) поради паузи за време на инсталацијата. Затоа, овој метод на инсталација генерално не се препорачува.

 

Заптивки за масло TC/SC/TB/SB

И двете се состојат од метална рамка, пружина и гумено тело. Металната рамка обезбедува поддршка, а пружината применува радијална сила на заптивната усна. И моделите TC и TB имаат помошна усна отпорна на прашина, погодна за апликации каде што едната страна содржи медиум за запечатување, а другата страна содржи прашина. Моделите TB/SB имаат метален надворешен круг, што го прави заптивката за масло посигурна и попрецизна во шуплината. Сепак, способноста за запечатување на надворешниот круг е ограничена за медиум со низок вискозитет и гасовити; затоа, се препорачува да се нанесе заптивната смеса на надворешниот круг за време на инсталацијата и употребата.

Облик на пресек

Модел

Апликација

Притисок

Температура

Брзина

Средно

Материјал

ТЦ

Запечатување, отпорно на прашина

0,03 MPa

-30~+160

20 m/s

Масло за подмачкување и маст

NBR / FKM + јаглероден челик

SC

Запечатување

ТБ

Запечатување, отпорно на прашина

-30~+100

25 m/s

Вода, масло за подмачкување, маст

NBR + јаглероден челик

СБ

Запечатување

Нарачајте модел TC-d*D*b

Спецификација

Спецификација

Спецификација

Спецификација

Спецификација

Спецификација

Спецификација

TC-6*17*3,5

TC-9*25*7

TC-10*30*7

TC-12*25*10

TC-13*25*7

TC-14*32*8

TC-15*30*7

TC-7*18*7

TC-10*18*7

TC-11*22*7

TC-12*26*7

TC-13*26*7

TC-14*32*10

TC-15*30*8

TC-8*18*7

TC-10*19*7

TC-I1*25*7

TC-12*28*7

TC-13*28*7

TC-14*35*7

ТЦ-15*30*10

TC-8*20*7

TC-10*20*5

TC-11*30*10

TC-12*28*8

TC-13*30*8

TC-14*35*8

TC-15*32*7

TC-8*22*7

TC-10*20*7

TC-12*19*3

TC-12*30*7

TC-14*24*7

TC-14*40*7

TC-15*32*10

TC-8*22*8

TC-10*22*5

TC-12*20*7

ТЦ-12*30*10

TC-14*25*7

TC-15*22*8

TC-15*35*7

TC-8*25*7

TC-10*22*7

TC-12*21*7

TC-12*32*7

TC-14*26*7

TC-15*24*7

TC-15*35*8

TC-8*25*8

TC-10*22*8

TC-12*22*5

TC-12*32*10

TC-14*27*7

TC-15*25*5

TC-15*35*10

TC-8*30*7

TC-10*22*10

TC-12 * 22,5 * 5,5

TC-12*35*7

TC-14*28*7

TC-15*25*7

TC-15*38*7

TC-9*16*5

TC-10*24*7

TC-12*22*7

TC-12*35*10

TC-14*28*8

TC-15*25*8

TC-15*38*8

TC-9*18*7

TC-10*25*5

TC-12*22*8

TC-12,7 * 22,22 * 5

TC-14*28*10

TC-15*26*7

TC-15*38*10

TC-9*19*7

TC-10*25*7

TC-12*24*6

TC-12,7 * 25,4 * 7

TC-14*29*7

TC-15*27*7

TC-15*40*8

TC-9*20*7

TC-10*25*10

TC-12*24*7

TC-12,7 * 26 * 8

TC-14*30*7

TC-15*27*8

ТЦ-15*40*10

TC-9*22*7

TC-10*26*7

TC-12*25*7

TC-12,7 * 30 * 8

ТЦ-14*30*10

TC-15*28*7

TC-15*42*7

TC-9*24*7

TC-10*28*7

TC-12*25*8

TC-13*23*7

TC-14*32*7

TC-15*28*10

TC-15*42*8

 




Жешки тагови: TC масло заптивки
Испрати барање
Контакт Инфо
  • Адреса

    бр.1 Рујчен пат, индустриски парк Донглиутинг, округ Ченгјанг, град Кингдао, провинција Шандонг, Кина

Добијте конкурентни цени, техничка поддршка и брзи одговори. Испратете ги вашите спецификации до Ruichen за прилагодени решенија за запечатување. Бесплатни примероци на располагање.
X
Ние користиме колачиња за да ви понудиме подобро искуство во прелистувањето, да го анализираме сообраќајот на страницата и да ја персонализираме содржината. Со користење на оваа страница, вие се согласувате со нашата употреба на колачиња. Политика за приватност
Отфрли Прифати