Кингдао Руичен за заптивање технологија копродукции, Ltd.
Кингдао Руичен за заптивање технологија копродукции, Ltd.
Производи
X

Прстен за бришачи

Комбинираната заптивка за прашина со двојни усни лансирана од Ruichen Seal (познат производител и снабдувач на заптивки со клипни прачки во Кина) се состои од наполнет тефлонски заптивен прстен и О-прстен. Има двонасочна заштита од прашина и функции за автоматска компензација на абење, ниско триење, долг животен век и силна приспособливост и широко се користи во различни сценарија на индустриски движења како што се клипни, занишани и спирални.

Перформанси и апликации

Комбинираната заптивка на бришачот со двојна усна е двонасочна заптивка за бришачи која се состои од прстен за бришач со двојни усни наполнет со тефлонски и О-прстен. О-прстенот обезбедува претходно оптоварување, компензирајќи за абењето на тефлонскиот прстен. Погоден е за клипни, осцилирачки или спирални движења.


Услови за работа

Притисок Mpa

Температура °C

Брзина m/s

Средно

-

-35~+100 (што одговара на О-прстен NBR)

6

Хидраулично масло, емулзија, вода итн.

-20~+200 (што одговара на О-прстен FKM)


Пример за нарачка

Нарачајте модел RCF02-80-PTFE3-R01

RCF02 - модел 80 - PTFE3 со дијаметар на вратило - модифициран тефлонски RO1 за општа намена - шифра на соодветни гумени материјали

Нитрил (NBR) - R01, флуоројаглерод (FKM) - RO2

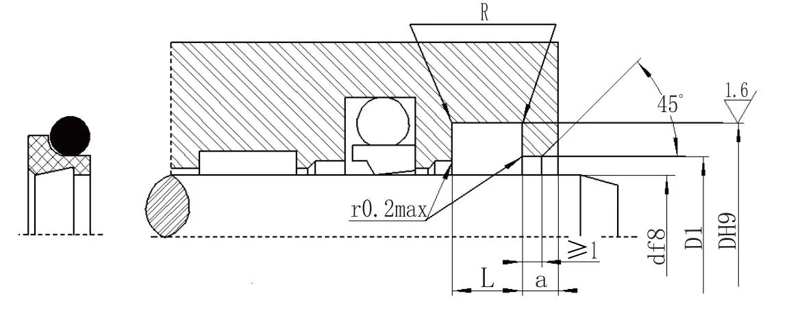
Табела со параметри за спецификации (може да се обезбедат производи од која било големина во опсегот на параметрите)

Опсег на дијаметар на вратило d f8

Дијаметар на жлебот D H9

Ширина на жлебот Л+0.2

Дијаметар на отворена дупка

D1H11

Отворете ја ширината на дупката a≥

Заоблени агли R≤

Дијаметар на жица со О-прстен

d0

4 ~ 11

d+4,8

3.7

d+1,5

2

0.4

1.80

12~64

d+6,8

5.0

d+1,5

2

0.7

2.65

65-250

d+8,8

6.0

d+1,5

3

1.0

3.55

251~420

d+12.2

8.4

d+2,0

4

1.5

5.30

421-650

d+16,0

11.0

d+2,0

4

1.5

7.00

651-1500

d+20,0

14.0

d+2,5

5

2.0

8.60


Жешки тагови: Прстен за бришачи
Испрати барање
Контакт Инфо
  • Адреса

    бр.1 Рујчен пат, индустриски парк Донглиутинг, округ Ченгјанг, град Кингдао, провинција Шандонг, Кина

Добијте конкурентни цени, техничка поддршка и брзи одговори. Испратете ги вашите спецификации до Ruichen за прилагодени решенија за запечатување. Бесплатни примероци на располагање.
Вести Препораки
X
Ние користиме колачиња за да ви понудиме подобро искуство во прелистувањето, да го анализираме сообраќајот на страницата и да ја персонализираме содржината. Со користење на оваа страница, вие се согласувате со нашата употреба на колачиња. Политика за приватност
Отфрли Прифати