|
Притисок/MPa |
Температура / °C |
Брзина / m/s |
Средно |
|
≤40 |
-35~+100 (со NBR О-прстен) |
≤2 |
Хидраулично масло, емулзија, вода, гас итн. |
|
-20~+200 (со FKM О-прстен) |
1. Достапни материјали за О-прстен: R01 Nitrile Butadiene Rubber (NBR), R02 Fluororubber (FKM) итн.
2. Материјали за заптивни прстени: Стандардни материјали PTFE3 и PTFE4; други опционални материјали вклучуваат PTFE1, PTFE2 и PTFE5.
Пример за нарачка
Нарачување Модел RC2052—80x91×4,2—PTFE3—R01 Model-dxDxL- Материјален код
Нарачување модел RCX17—80x91×4,2—HPU Model-dxDxL- Материјален код
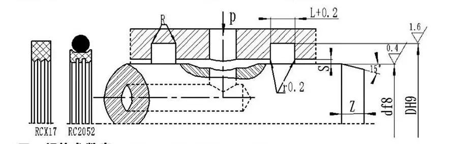
Табела со спецификации и параметри (достапна е секоја спецификација во опсегот на параметрите)
|
Опсег на дијаметар на вратило d f8 |
Дијаметар на ровот DH9 |
Ширина на ровот L+⁰.2 |
Радијален клиренс Smax |
Заоблени агли Rmax |
Chamfer Змин |
|
|
0 ~ 10 MPa |
10 ~ 20 MPa |
|||||
|
6-18 |
d+49 |
2.2 |
0.15 |
0.1 |
0.4 |
2 |
|
19-37 |
d+7,5 |
3.2 |
0.2 |
0.15 |
0.6 |
3 |
|
38~199 |
d+11,0 |
4.2 |
0.25 |
0.2 |
1.0 |
4 |
|
200-255 |
d+15,5 |
6.3 |
0.3 |
0.25 |
1.3 |
5 |
|
256~649 |
d+21,0 |
8.1 |
0.3 |
0.25 |
1.8 |
7 |
|
650-1500 |
d+28,0 |
9.5 |
0.45 |
0.3 |
2.0 |
8 |
Забелешка: За дијаметри на вратило ≤ 30 mm, се препорачуваат отворени жлебови.
|
d |
D |
L |
d |
D |
L |
d |
D |
L |
d |
D |
L |
|
8 |
12.9 |
2.2 |
48 |
59.0 |
4.2 |
150 |
161.0 |
4.2 |
350 |
371.0 |
8.1 |
|
10 |
14.9 |
2.2 |
50 |
61.0 |
4.2 |
160 |
171.0 |
4.2 |
360 |
381.0 |
8.1 |
|
12 |
16.9 |
2.2 |
55 |
66.0 |
4.2 |
170 |
181.0 |
4.2 |
370 |
391.0 |
8.1 |
|
14 |
18.9 |
2.2 |
60 |
71.0 |
4.2 |
180 |
191.0 |
4.2 |
380 |
401.0 |
8.1 |
|
15 |
19.9 |
2.2 |
63 |
74.0 |
4.2 |
190 |
201.0 |
4.2 |
390 |
411.0 |
8.1 |
|
16 |
20.9 |
2.2 |
65 |
76.0 |
4.2 |
200 |
215.5 |
6.3 |
400 |
421.0 |
8.1 |
|
18 |
22.9 |
2.2 |
70 |
81.0 |
4.2 |
210 |
225.5 |
6.3 |
420 |
441.0 |
8.1 |
|
20 |
27.5 |
3.2 |
75 |
86.0 |
4.2 |
220 |
235.5 |
6.3 |
450 |
471.0 |
8.1 |
|
22 |
29.5 |
3.2 |
80 |
91.0 |
4.2 |
230 |
245.5 |
6.3 |
480 |
501.0 |
8.1 |
|
24 |
31.5 |
3.2 |
85 |
96.0 |
4.2 |
240 |
255.5 |
6.3 |
500 |
521.0 |
8.1 |
|
25 |
32.5 |
3.2 |
90 |
101.0 |
4.2 |
250 |
265.5 |
6.3 |
520 |
541.0 |
8.1 |
|
28 |
35.5 |
3.2 |
95 |
106.0 |
4.2 |
260 |
281.0 |
8.1 |
550 |
571.0 |
8.1 |
|
30 |
37.5 |
3.2 |
100 |
111.0 |
4.2 |
270 |
291.0 |
8.1 |
600 |
621.0 |
8.1 |
|
32 |
39.5 |
3.2 |
105 |
116.0 |
4.2 |
280 |
301.0 |
8.1 |
630 |
651.0 |
8.1 |
|
35 |
42.5 |
3.2 |
110 |
121.0 |
4.2 |
290 |
311.0 |
8.1 |
650 |
678.0 |
8.1 |
|
36 |
43.5 |
3.2 |
115 |
126.0 |
4.2 |
300 |
321.0 |
8.1 |
670 |
698.0 |
9.5 |
|
38 |
49.0 |
4.2 |
120 |
131.0 |
4.2 |
310 |
331.0 |
8.1 |
700 |
728.0 |
9.5 |
|
40 |
51.0 |
4.2 |
125 |
136.0 |
4.2 |
320 |
341.0 |
8.1 |
750 |
778.0 |
9.5 |
|
42 |
53.0 |
4.2 |
130 |
141.0 |
4.2 |
330 |
351.0 |
8.1 |
800 |
828.0 |
9.5 |
|
45 |
56.0 |
4.2 |
140 |
151.0 |
4.2 |
340 |
361.0 |
8.1 |
1000 |
1028.0 |
9.5 |
Забелешка: Потребните спецификации не се наведени овде; ве молиме контактирајте ја нашата компанија. Нудиме производи со максимален дијаметар од 2800mm.





Инструкции за целокупна инсталација и употреба
Руи Чен знае дека правилната инсталација е првиот предуслов за да се обезбеди целосна изведба на пломбите, ние исто така ќе ви дадеме сеопфатни упатства за употребата на секој производ, особено сложените или нестандардните сопствени делови, ќе има детален графички водич за инсталација.
Овие водичи се придружени со чекор-по-чекор дијаграми со висока дефиниција и текстуални упатства кои јасно ги прикажуваат точките на проверка пред инсталацијата, правилните чекори за инсталација, потребните алатки и погрешните операции што мора да се избегнат, како нашите инженери да се на лице место. Дополнително, за сложени склопови или системи, создаваме професионални видео упатства кои им овозможуваат на вашите оператори интуитивно и брзо да ги совладаат техниките и мерките на претпазливост за инсталација преку динамични демонстрации, со што значително го намалуваат ризикот од предвремено откажување поради неправилна инсталација.
Адреса
бр.1 Рујчен пат, индустриски парк Донглиутинг, округ Ченгјанг, град Кингдао, провинција Шандонг, Кина
тел
Е-пошта