Основните хидраулични заптивки на Ruichen Peals главно вклучуваат неколку видови пломби, секој со свои предности. О-прстените широко се користат во разни динамични и статички прилики за запечатување, како резултат на нивните ниски трошоци за производство и удобна употреба. Повеќето земји формулираа серија стандарди на производи за О-прстени, меѓу кои американскиот стандард (AS568), јапонскиот стандард (JISB2401) и Меѓународниот стандард (ISO 3601/1) се почести. Националните стандарди се GB3452.1 и GB1235.
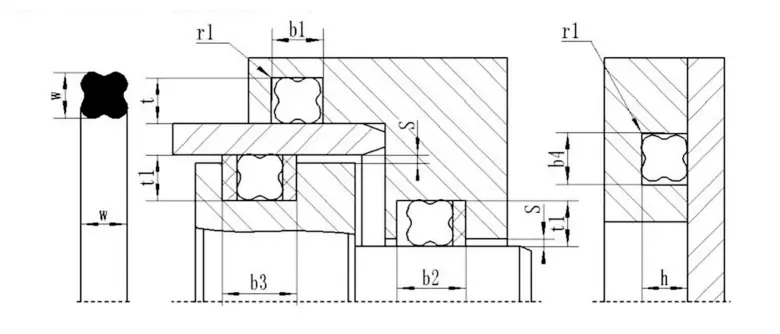
Прстенот за заптивка во форма на starвезда е заптивка со четири усни со форма во форма Х, така што се нарекува и прстен во форма Х. Тоа е подобрување и подобрување врз основа на О-прстенот. Неговите димензии на пресек се исти како О-прстенот на САД како стандард 568A, и во основа може да ја замени употребата на О-прстенот.
Предности на starвездени прстени
Во споредба со О-прстените, ringsвездените прстени имаат помала отпорност на триење и помалку отпорност на почеток, бидејќи тие формираат подмачкувачка празнина помеѓу усните за запечатување. Бидејќи неговиот блиц се наоѓа во конкавниот дел од пресекот, ефектот на запечатување е подобар. Не-кружниот пресек ефикасно го избегнува тркалачкиот феномен за време на возврат.
Механизам за работа на starвездени прстени
Theвездениот прстен е само-затегнат елемент за запечатување со двојно дејство. Радијалните и аксијалните сили зависат од притисокот на системот. Како што се зголемува притисокот, деформацијата на компресијата на starвездениот прстен ќе се зголеми, а вкупната сила за запечатување ќе се зголеми, со што се формира сигурен заптивка.
Како да изберете прстен за заптивка во форма на starвезда
Ако е познат дијаметарот на вратилото и дупката, изберете го соодветниот прстен за заптивка во форма на starвезда според следниве критериуми:
1. Статичко запечатување или возвратно линеарно движење: (1) Запечатување на дупки: Внатрешниот дијаметар на прстенот во форма на starвезда треба да биде компатибилен со жлебот, или помалку од околу 2% од долниот дијаметар на жлебот. Бидејќи пред-компресивната сила генерирана од пред-компресија може ефикасно да го спречи прстенот на заптивката во форма на starвезда од извртување и тркалање. (2) Запечатување на вратилото: Внатрешниот дијаметар на прстенот во форма на starвезда треба да биде еднаков или соодветно поголем од надворешниот дијаметар на вратилото за околу 0,2 ~ 0,3мм, или може да биде околу 1% поголем од надворешниот дијаметар на вратилото. Како резултат, прстенот за печат ќе биде полесен за инсталирање и да има подолг животен век.
2. Ротационо запечатување: Внатрешниот дијаметар на прстенот во форма на starвезда треба да биде околу 2 ~ 5% поголем од дијаметарот на вратилото што го запечатува. Бидејќи прстенот за заптивка ќе генерира триење и топлина кога се користи во ротирачко движење, а гумата ќе се намали кога ќе се загрее (ефект на ouул). Затоа, за да се обезбеди дека прстенот за заптивка може да се подмачкува и да работи со сигурност, мора да се избере прстен во форма на starвезда со внатрешен дијаметар поголем од дијаметарот на вратилото. Обично, прстен за заптивка со помал пресек може да ги задоволи потребите на статичко запечатување. Напротив, треба да се избере прстен за заптивка со поголем пресек за да се исполни динамичниот заптивка. Во случај на висок притисок или големи празнини, мора да се избере гумен материјал со поголема цврстина. Најдобар начин е да додадете прстен за задржување на PTFE за да се спречи оштетување на истиснување под висок притисок.
Обвинетата О-прстен органски ја комбинира еластичноста и запечатувањето на гума со хемиска отпорност на тефлон. Тој е составен од силиконски или флуороруб Внатрешно јадро и релативно тенок тефлон FEP или надворешна облога на тефлон ПФА.
Материјал: Teflon FEP и Teflon PFA се во суштина слични, но Teflon PFA има подобра отпорност на висока температура од Teflon FEP. Применлива температурна опсег Тефлон FEP школка: -60 ℃ ~ 205 ℃ може да се користи на 260 ℃ за кратко време Teflon PFA школка: -60 ℃ ~ ~ 260 ℃ може да се користи на 300 ℃ за кратко време предности:
1. Извонреден хемиски отпор, погоден за скоро сите хемиски медиуми
2. Широк опсег на температура
3. Добра отпорност на компресија
4. Анти-триење
5. Добро анти-нишање
6. Отпорност на висок притисок
7. Одлична издржливост на запечатување и долг животен век
Апликација: Пумпи и вентили, садови за реакција, механички заптивки, филтри, садови под притисок, разменувачи на топлина, котли, прирабници за гасоводот, компресори за гас, итн.
Индустрии за апликации: Хемиска индустрија, производство на авиони, фармацевтска индустрија, нафта и хемиски транспорт и рафинирање, филмска индустрија, инженеринг за ладење, индустрија за преработка на храна, индустрија за производство на хартија, производство на бои, прскање на бои, итн.
Инструкции за инсталација за прстени за запечатување
1. Деловите каде што се инсталираат или поминуваат прстените за запечатување мора да бидат мазни, без закопчиња, жлебови и остри агли. Грубоста на внатрешната дупка треба да достигне 1,6μ и грубоста на вратилото треба да достигне 0,8ум.
2. Нанесете чисто светло масло или маснотии за подмачкување на површината на прстенот за запечатување и релевантните делови во контакт.
3. Ако е тешко да се инсталира прстенот за запечатување на вратилото, потопете го во топла вода неколку минути за да го проширите. Ова омекнат и проширен О-прстен е полесно да се инсталира. Инсталирајте го О-прстенот кога е топло, а нејзината големина ќе се врати во првобитната големина откако ќе се олади.
4. Не го наведнувајте премногу насилно О-прстенот, во спротивно тоа ќе предизвика брчки во тефлон и ќе влијае на неговата употреба.
Препорачаната компресија на обложениот О-прстен е како што следува:
Статичко запечатување држава: 15%-20%
Динамична држава за запечатување: 10%-12%
Пневматска состојба: 7%-8%
Вистинската компресија треба да ги земе предвид условите за работа, особено работниот притисок за запечатување и другите фактори.
Карактеристики и апликации на производи:
| Табела за параметар за перформанси на прстенот О-прстен |
|
|
|
|
Статички печат | Динамичен печат |
| Работен притисок | Без задржување на прстенот, 20MPa максимум Со задржување на прстенот, 40 MPa Max, специјален задржување на прстенот 200mpa максимум | Без задржување на прстенот, 5MPa максимум Со задржување на прстенот, поголем притисок |
| Брзина | Возвраќа 0,5м/с максимум, ротирачки 2м/с максимум | |
| Температура | Општа употреба: -30 ~+110, Специјална гума: -60 ~+250, ротирање: -30 ~+80 | |
| Среден | Погледнете го делот за материјали | |
| Стандард | Дијаметар на пресек на прстенот w |
|
|||||
| Американски стандард како 568 Британски стандард БС 1516 | 1.78 | 2.62 | 3.52 | 5.33 | 6.99 | - | |
| Јапонски стандард ИТ Б2401 | 1.9 | 2.4 | 3.1 | 3.5 | 5.7 | 8.4 | |
| Меѓународен стандард ISO 3601/1 Германски стандард ДИН 3771/1 Кинески стандарден CB 3452.1 | 1.8 | 2.65 | 3.55 | 5.30 | 7.00 | - | |
| Преферирани метрички големини | 1.0 | 1.5 | 2.0 | 2.5 | 3.0 | 3.5 | |
| 4.0 | 4.5 | 5.0 | 5.5 | 6.0 | 7.0 | ||
| 8.0 | 10.0 | 12.0 |
|
|
|
||
| Американски стандард како 568 (900 серии) | 1.02 | 1.42 | 1.63 | 1.83 | 1.98 | 2.08 | |
| 2.21 | 2.46 | 2.95 | 3.00 |
|
|
|
|
| Опсегот на апликации на starвездени прстени е многу широк. Изберете го вистинскиот материјал според температурата, притисокот и медиумот. За да се прилагоди ringвездениот прстен на дадена апликација, треба да се земат предвид меѓусебните ограничувања помеѓу сите работни параметри. При утврдување на опсегот на апликација, мора да се земат предвид врвната температура, континуираната работна температура и циклусот на работа. Во ротирачките апликации, мора да се земе предвид и порастот на температурата предизвикан од топлината на триење. | |||||
| Технички параметри | Динамичен печат | Статички печат |
|
||
| Возвратно движење | Ротационо движење |
|
|||
| Работен притисок (МПА) | Со задржување на прстенот | 30 | 15 | 40 |
|
| Без задржување на прстенот | 5 | - | 5 |
|
|
| Брзина (М/с) | 0.5 | 2.0 | - |
|
|
| Температура (℃) | Општи прилики: -30 ℃ ~+110 |
|
|||
| Специјални материјали: -60 ℃ ~+200 |
|
||||
| ОДГОВОРНИ ОДГОВОРИ: -30 ℃ ~+80 |
|
||||
Материјал за ringвезден прстен:
Материјалот е генерално Shaw A70 нитрилна гума NBR.
Обложени О-прстен:
Шематски дијаграм на жлебот на капсулираниот О-прстен
Табела за димензија на жлебот на капсулираниот О-прстен (препорачано)
| Дијаметар на жица г. | А (мм) | Б (мм) | ||
| Статички печат | Динамичен печат | Пневматски печат | ||
| 1.78 | 2.36/2.49 | 1,42/1.52 | 1,55/1,60 | 1,63/1.65 |
| 2.62 | 3.56/3.68 | 2.08/2.21 | 2.29/2.36 | 2.39/2.44 |
| 3.53 | 4,75/4.88 | 2.82/3.00 | 3.10/3.18 | 3.22/3.28 |
| 5.33 | 7.14/7.26 | 4.27/4.52 | 4.67/4.80 | 4.90/4.95 |
| 6.99 | 9.63/9.65 | 5.59/5.89 | 6.15/6.27 | 6.43/6.48 |
Водич за инсталација на заптивка на Ruichen Ptfe
Ⅰ. Водич за инсталација
1. Заптивката мора да се инсталира на преоптоварената страна, свртена кон насоката на притисок.
2. Телото на цилиндарот и прачката на клипот мора да бидат направени со притисок-во-комори кои ги исполнуваат барањата на примероците на нашата компанија.
3. Остри рабови мора да бидат ослободени од закопчиња и заоблени или да бидат обележани.
4. Теми, жлебови на прстенот, итн. Треба да бидат покриени, бидејќи заптивката не може да се турка низ жлебови, дупчат дупки или груби површини.
5. Секоја прашина, остатоци или други странски честички мора внимателно да се отстранат.
6. Алатки со остри рабови не треба да се користат.
7. прстените за запечатување на PTFE се полесно да се прошират во загреано масло или вода (околу 80 ~ 120 степени) и лесно се враќаат во нивната оригинална форма.
8. Ако усната на заптивката треба да помине низ дупката за притисок на маслото, треба да се користи пластичен стап за нежно да се притисне усната за да се спречи комората на дупката да ја оштети усната за запечатување. Дупките на цилиндерот треба да бидат обележани. (Слика 3)
Ⅱ. Метод на инсталација
Отворени (поделени) жлебови може да се инсталираат без алатки.
Инсталирање на затворени заптивки на клипот на клипот на жлебот (Слика 1)
1. Исчистете ги и нафта сите подлоги на запечатување, заптивки и алатки за инсталација.
2. Ставете го гумениот прстен во жлебот (бидете внимателни да не го извртувате).
3. Компресирајте го прстенот за заптивка на PTFE во форма на бубрег без да формирате зашилен свиоци, ставете го компресираниот прстен за заптивка PTFE во жлебот и нежно израмнете го со рака.
4. Притиснете ја манделата за обновување на заптивката и нежно свртете ја манделата. Оставете го 1 минута и извадете ја манделата. Инсталацијата е завршена.
Инсталирање на заптивки на клипот во затворени жлебови (Слика 2)
1. Исчистете ги и нафта сите подлоги на запечатување, заптивки и алатки за инсталација.
2. Ставете го гумениот прстен во жлебот (бидете внимателни да не го извртувате).
3. Притиснете го прстенот за запечатување на PTFE на ракавот за водич и истегнете го прстенот за запечатување.
4. Притиснете го затегнатиот прстен за запечатување во жлебот на клипот.
5. Притиснете го ракавот за корекција до прстенот за запечатување и ротирајте го ракавот за корекција во исто време. Извадете го ракавот за корекција откако ќе го оставите 1 минута и инсталацијата е завршена.
Белешка: 1. Ве молиме консултирајте се со нашата компанија ако производот наведен во примерокот на нашата компанија не може да се инсталира во затворен жлеб, но не е погоден за отворен жлеб.
2. Горенаведената инсталација на PTFE заптивки не е применлива за сите заптивки на PTFE. Ве молиме, консултирајте се со нашата компанија доколку е потребно.



























Адреса
бр.1 Рујчен пат, индустриски парк Донглиутинг, округ Ченгјанг, град Кингдао, провинција Шандонг, Кина
тел
Е-пошта